Honda brevète un système révolutionnaire : assistance électronique à la direction pour éviter les chutes !
Honda ne veut plus se contenter de limiter les dégâts après l’accident. Le constructeur japonais veut l’empêcher avant même qu’il n’existe. Et pour cela, il s’attaque à un tabou technique du deux-roues : la direction.

La marque a récemment déposé un brevet explosif qui révèle un système inédit de contrôle électronique de la direction, pensé comme un véritable dispositif de sécurité active. Une révolution silencieuse, mais potentiellement majeure, dans un univers où l’électronique s’est jusqu’ici concentrée sur le freinage, la traction ou la stabilité… jamais sur le guidon lui-même.
Chez Honda, le constat est clair : la majorité des chutes surviennent lors de réactions trop tardives, trop brusques ou inadaptées. Or, intervenir sur la direction d’une moto est infiniment plus complexe que sur une voiture. Équilibre précaire, angle d’inclinaison, transfert de masse : la moindre correction peut devenir fatale.
C’est précisément pour cette raison que la direction a toujours été laissée entièrement aux mains du pilote. Jusqu’à aujourd’hui.
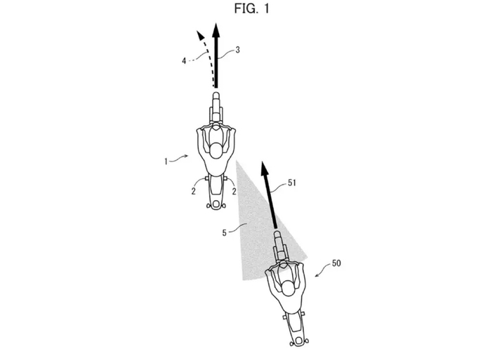
Le système breveté par Honda ne cherche pas à prendre le contrôle. Il observe, analyse et n’intervient qu’en ultime recours. En permanence, il surveille une série de paramètres critiques : la vitesse, l’angle d’inclinaison, la position du guidon, la trajectoire, et même la proximité d’autres véhicules.
Si l’algorithme détecte une réaction tardive ou une correction inadaptée, une assistance légère et progressive à la direction est appliquée. Pas de coup de force. Pas de mouvement parasite. Juste ce qu’il faut pour éviter une manœuvre brutale susceptible de déséquilibrer la moto.

Et Honda inventa l’anti-guidonnage intelligent
L’objectif est clair : éviter la chute déclenchée par un réflexe humain trop violent.
Honda insiste sur un point fondamental : la sensation de conduite doit rester naturelle. Le système est conçu pour être presque invisible, agissant en arrière-plan, sans jamais donner l’impression que la moto “se conduit toute seule”.
Cette assistance à la direction est pensée pour fonctionner en synergie avec d’autres technologies avancées, comme la détection des véhicules par radar ou caméra. En croisant les données, la moto devient capable d’anticiper un conflit de trajectoire, d’identifier un danger imminent et d’aider le pilote au moment précis où tout se joue… en quelques fractions de seconde.
Même si ce dispositif n’en est encore qu’au stade du brevet, il révèle parfaitement la philosophie de Honda : une électronique intelligente, discrète, respectueuse du pilote. Pas question de le remplacer, encore moins de le déposséder de son rôle. L’humain reste au centre, mais il n’est plus seul face à l’erreur.
À terme, l’ambition est limpide : réduire drastiquement le nombre de chutes, en particulier celles causées par la panique, la surprise ou la surcharge cognitive.
La direction, longtemps sacrée et intouchable, pourrait devenir le prochain grand pilier de la sécurité moto.
Et si Honda réussit son pari, le deux-roues pourrait entrer dans une nouvelle ère : celle où la technologie ne corrige plus seulement la machine… mais protège aussi l’instinct humain.














Déposer un commentaire
Alerte de modération
Les données que vous renseignez dans ce formulaire sont traitées par GROUPE LA CENTRALE en qualité de responsable de traitement.
Les données obligatoires sont celles signalées par un astérisque dans ce formulaire.
Ces données sont utilisées à des fins de :
Vous disposez d’un droit d’accès, de rectification, d’effacement de ces données, d’un droit de limitation du traitement, d’un droit d’opposition, du droit à la portabilité de vos données et du droit d’introduite une réclamation auprès d’une autorité de contrôle (en France, la CNIL).
Pour en savoir plus sur le traitement de vos données : Politique de confidentialité
Alerte de modération