Kawasaki persiste avec l’hydrogène : génie visionnaire ou impasse technologique ?
Depuis plusieurs années, Kawasaki poursuit un objectif ambitieux : sauver le moteur à combustion interne dans un monde qui bascule vers l’électrique. La solution imaginée par la marque d’Akashi est aussi audacieuse que controversée : remplacer l’essence par de l’hydrogène. Sur le papier, l’idée semble presque parfaite. L’hydrogène est l’élément le plus abondant de l’univers, sa combustion ne produit que de l’eau et il permettrait, en théorie, de continuer à utiliser des moteurs thermiques sans émissions directes de CO₂.

Mais dans la pratique, le projet ressemble de plus en plus à un casse-tête… au point que les dernières esquisses de Kawasaki donnent à leur prototype une silhouette qui évoque davantage un avion à réaction qu’une moto.
Contrairement à certains constructeurs qui ont totalement abandonné le thermique, Kawasaki continue de croire que le moteur à combustion a encore un avenir.
L’hydrogène pourrait être la clé : un carburant capable de préserver les sensations mécaniques, le bruit et l’architecture des moteurs traditionnels tout en réduisant drastiquement les émissions.
C’est une vision séduisante, et Kawasaki travaille dessus depuis des années. Des prototypes fonctionnels ont déjà été présentés, preuve que le concept n’est pas qu’un exercice marketing.
Mais plus le projet avance, plus un obstacle majeur apparaît. Stocker l’hydrogène dans une moto est extrêmement compliqué.
Contrairement à l’essence, l’hydrogène possède une densité très faible et doit être stocké sous très haute pression, souvent autour de 700 bars. Cela impose des réservoirs cylindriques particulièrement robustes et volumineux. Et sur une moto, l’espace est évidemment limité.

Un combat pour sauver le moteur thermique
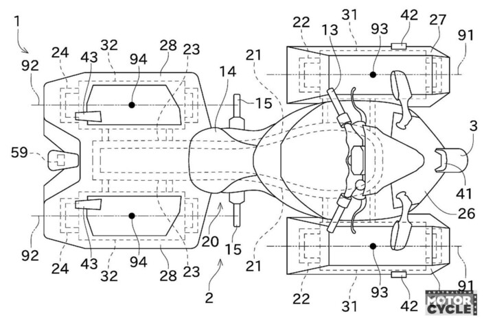
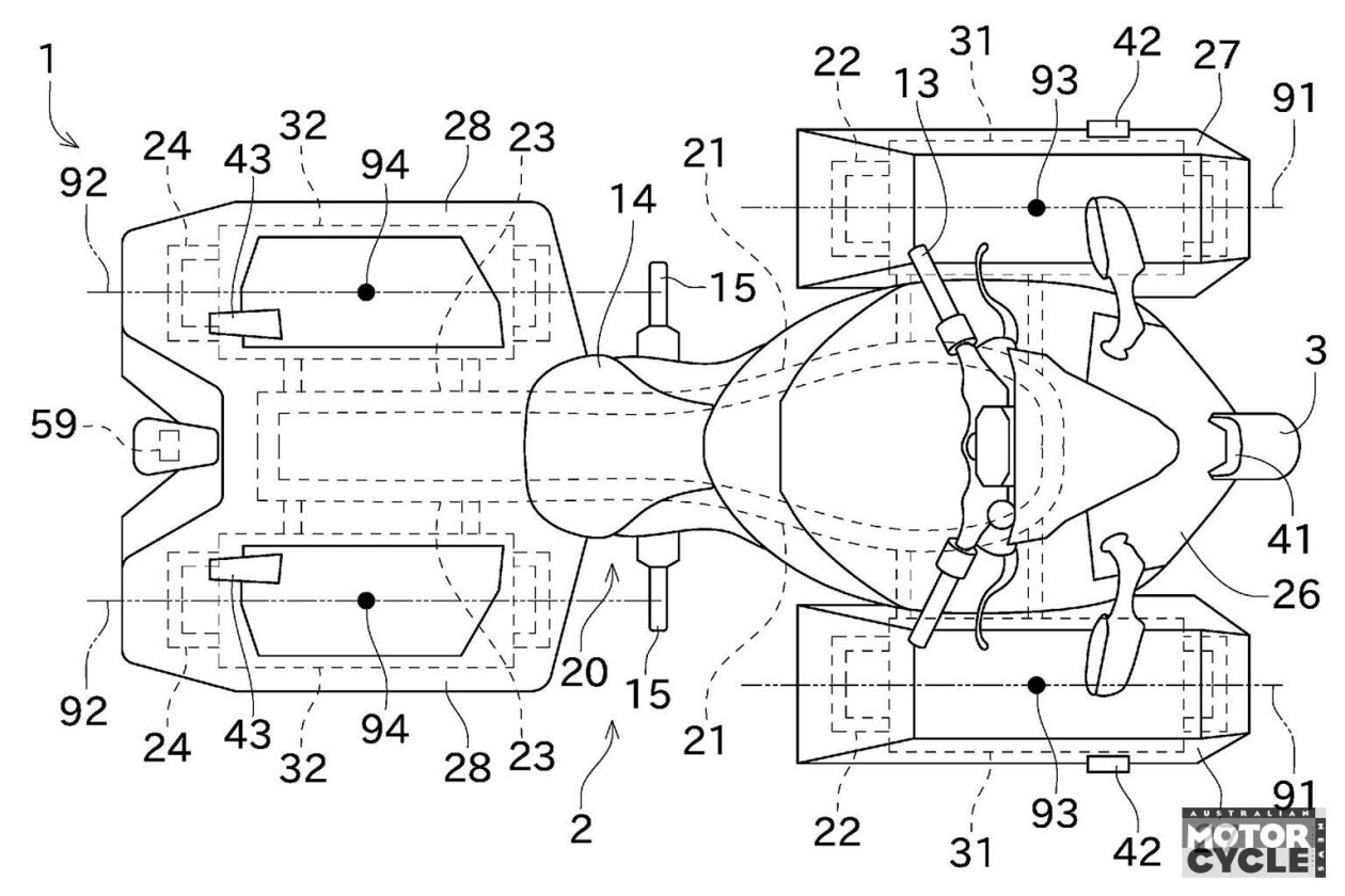
Les premiers prototypes Kawasaki avaient déjà surpris par leur architecture atypique. Au lieu de simples carénages latéraux, la moto intégrait déjà deux énormes réservoirs d’hydrogène de chaque côté.
Mais les nouveaux brevets récemment révélés montrent que Kawasaki envisage une solution encore plus radicale.
Les schémas évoquent désormais jusqu’à quatre réservoirs différents : deux latéraux, un placé à l’avant, un autre intégré à l’arrière.
L’objectif est clair : augmenter l’autonomie, aujourd’hui encore très limitée. Mais la conséquence est évidente : plus de réservoirs signifie plus de poids, plus de volume et une architecture toujours plus complexe.
Sur le plan théorique, l’hydrogène possède pourtant des qualités impressionnantes. Sa densité énergétique par kilogramme est même supérieure à celle de l’essence. Mais son stockage reste un cauchemar pour les ingénieurs.
C’est pourquoi certains observateurs commencent à se demander si Kawasaki ne s’approche pas d’une limite technologique : plus on ajoute de réservoirs, plus la moto ressemble à une machine expérimentale plutôt qu’à un véhicule de série.
Malgré tout, le projet Kawasaki reste fascinant. Il montre qu’une partie de l’industrie moto refuse encore d’abandonner le moteur à combustion. Et l’hydrogène pourrait offrir une alternative crédible face à l’électrique, surtout pour les machines sportives où le poids des batteries reste un problème majeur.
La question est désormais simple : Kawasaki est-il en train d’inventer l’avenir de la moto… ou une impasse technologique spectaculaire ?
Pour l’instant, le défi de faire tenir un carburant à 700 bars dans une moto reste le véritable moteur du projet.














Déposer un commentaire
Alerte de modération
Les données que vous renseignez dans ce formulaire sont traitées par GROUPE LA CENTRALE en qualité de responsable de traitement.
Les données obligatoires sont celles signalées par un astérisque dans ce formulaire.
Ces données sont utilisées à des fins de :
Vous disposez d’un droit d’accès, de rectification, d’effacement de ces données, d’un droit de limitation du traitement, d’un droit d’opposition, du droit à la portabilité de vos données et du droit d’introduite une réclamation auprès d’une autorité de contrôle (en France, la CNIL).
Pour en savoir plus sur le traitement de vos données : Politique de confidentialité
Alerte de modération